-
Team TechTree
11:54 23rd Jul, 2014
Apple Gets Patent For Smartwatch, Is This The iWatch? | TechTree.com
Apple Gets Patent For Smartwatch, Is This The iWatch?
This is what the Apple had thought of in 2011
As added evidence that Apple is designing a smartwatch, the US Patent and Tradeamark office awarded the company a patent for the wrist-worn gadget with a touch screen and ability to communicate with a smartphone.
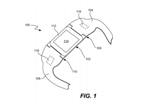
“The invention pertains to an electronic wristwatch,” wrote Apple in the filing for U.S. Patent 8,787,006, which was submitted in July 2011 but made public on Tuesday.
It describes “an electronic wristband to be worn on a wrist of a user” that has a receptacle for a “mobile electronic device.” That mobile device is a small display module that can be clipped into the wristband when needed.

The display portion is a mobile device in its own right and functions while not clipped into the wristband. Once connected together, the wristband and mobile device form a smartwatch that can communicate with a second device such as a phone, tablet PC or desktop computer, the patent said.
The wristband might include haptic sensors that allow for control with gestures “with one’s arm or wrist.”
“For example, the gesture might be a horizontal movement for one user input option (e.g., decline incoming call), and might be a vertical movement for another user input option (e.g., accept incoming call). For example, the gesture might be a single shake (or bounce, tap, etc.) of the user’s wrist for one user input option (e.g., accept incoming call), and might be a pair of shakes (or bounces, taps, etc.) for another user input option (e.g., decline incoming call),” the filing reads.
In some of the drawings that make up the patent, the watch device is labeled “iTime,” although that name isn’t claimed as a trademark with the USPTO.
“Portable electronic devices are commonplace today,” Apple wrote in the document. “In some cases these portable electronic devices can be carried by a user with relative ease, placed in a pocket of user’s clothing, or clipped onto the user or the user’s clothing. Some portable electronic devices are small enough to be worn by a user.”
“Additionally, accessories have been utilized to provide additional functionality to portable electronic devices,” it said. “There are, however, continuing needs to make portable electronic devices smaller and more portable. There is also a continuing need to enhance functionalities of portable electronic devices.”
TAGS: smartwatch, iWatch, wearable
- DRIFE Begins Operations in Namma Bengaluru
- Sevenaire launches ‘NEPTUNE’ – 24W Portable Speaker with RGB LED Lights
- Inbase launches ‘Urban Q1 Pro’ TWS Earbuds with Smart Touch control in India
- Airtel announces Rs 6000 cashback on purchase of smartphones from leading brands
- 78% of Indians are saving to spend during the festive season and 72% will splurge on gadgets & electronics
- 5 Tips For Buying A TV This Festive Season
- Facebook launches its largest creator education program in India
- 5 educational tech toys for young and aspiring engineers
- Mid-range smartphones emerge as customer favourites this festive season, reveals Amazon survey
- COLORFUL Launches Onebot M24A1 AIO PC for Professionals


TECHTREE